



Mechanismus dvojitého splachování Geberit série 290 d40, reference 282.302.21.2, je inovativní a efektivní řešení pro keramické nádrže, které zlepšuje kontrolu a řízení spotřeby vody. Vyrobeno společností Geberit, lídrem v sanitárních řešeních, tento mechanismus je navržen pro kompatibilitu s keramickými nádržemi o průměru otvoru ø 40 mm, poskytující vynikající funkčnost a spolehlivost při použití.
Mechanismus splachování zahrnuje nastavitelné dvojité splachování, které umožňuje volbu mezi úplným nebo částečným spláchnutím, což pomáhá šetřit vodu přizpůsobením průtoku konkrétním potřebám každého použití. Jak úplné, tak částečné splachování lze nastavit podle množství vody uložené v nádrži, čímž se optimalizuje využití zdroje. Tento efektivní design přispívá nejen k udržitelnosti životního prostředí, ale také pomáhá snižovat spotřebu vody v domácnosti nebo komerčních prostorách.
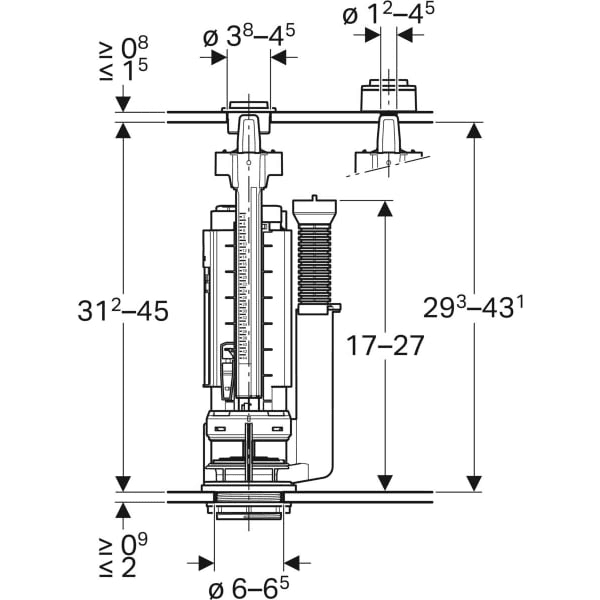
Jednou z nejvýznamnějších vlastností tohoto mechanismu je jeho nastavitelná výška, což usnadňuje instalaci do nádrží různých velikostí a modelů. Přepadová trubka je také výškově nastavitelná, což umožňuje větší flexibilitu a přizpůsobení instalace. Tato schopnost přizpůsobení zajišťuje, že mechanismus lze dokonale přizpůsobit široké škále nádrží, bez ohledu na jejich konfiguraci nebo kapacitu.
Mechanismus splachování Geberit je navržen k použití jak s pitnou vodou, tak s šedou vodou (dešťová voda), pokud je používán filtrační systém, který udržuje pH mezi 6,0 a 9,5. To z něj činí ideální volbu pro systémy, které se snaží využít dešťovou vodu ke snížení spotřeby pitné vody při splachování toalet.
Kompatibilita a aplikace:
Tento mechanismus je kompatibilní s koši mechanismu splachování sérií 280 a 250 (Twico 1), což znamená, že jej lze použít jako náhradu nebo upgrade v instalacích, které již tyto systémy používají. Kompatibilita s různými sériemi košů usnadňuje jeho integraci do projektů renovace nebo zlepšení stávajících systémů nádrží.
Navíc mechanismus dvojitého splachování Geberit zahrnuje systém upevnění víka nádrže, což zajišťuje bezpečnou a bezproblémovou instalaci. Díky své robustní konstrukci a kvalitě materiálů použitých při výrobě tento mechanismus zaručuje dlouhou životnost a spolehlivý provoz po mnoho let.
Hlavní vlastnosti mechanismu dvojitého splachování Geberit série 290 d40:
Technické specifikace:
Obsah balení:
Další výhody mechanismu dvojitého splachování Geberit:
Typické aplikace: